關于興千田
興千田致力于客戶終身價值實現,針對企業不同成長階段管理需求,從研發、應用、人才、服務等多重維度提供一站式服務支撐。
迄今為止,興千田已榮獲專利證書二十多項,而且隨著興千田技術團隊不斷研發,獲得的專利證書也越來越多,這是興千田在LCIA低成本自動化技術的有一大進展,感謝新老客戶對興千田的支持!

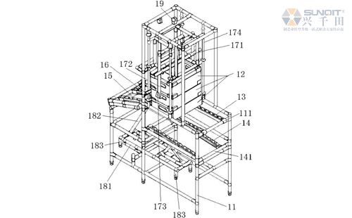
實用新型名稱:自動物料補給貨架
發明人:王印
專利號:ZL 2018 2 0915786.3
專利權人:深圳市興千田電子科技有限公司
授權公告日:2019年04月30日
授權公告號:CN 208802414 U

精益是東方的思維方式,講究從宏觀的角度出發,整體實施來解決問題,是一種類比法。
詳細了解
MES的定位,是處于計劃層和現場自動化系統之間的執行層,主要負責車間生產管理和調度執行。
詳細了解
生產管理的專家團隊直接深入到工廠,調查分析,為提高生產效率提出合理的建議。
詳細了解
從精益的視角對企業的人力資源實現精細化和準確化管理,最大限度地減少人力資源浪費!
詳細了解